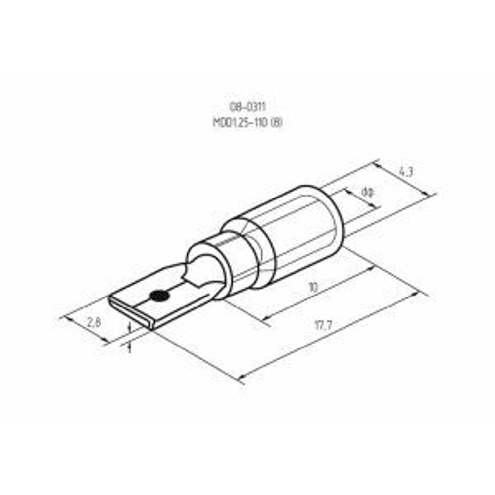
Клемма плоская изолированная (КПИ штекер - 2.8 мм) 0.5-1.5 мм² REXANT предназначена для создания качественного подключения электрооборудования или соединения проводов между собой, которое при необходимости возможно разъединить без лишних усилий. Такая клемма используется для оконцовывания многожильных медных проводов при монтаже мобильных электрических контактных соединений на подвижном составе (автомобиле-, вагоно-, самолето- и судостроении).
Изолированная плоская клемма REXANT состоит из двух компонентов: металлического коннектора (штекер) и защитного изолятора. Металлический коннектор изготовлен из латуни, с поверхностным электролитическим лужением, а изолятор клеммы из поливинилхлорида (ПВХ), который надежно защищает место обжима кабеля. Обжатие производится специальными пресс-клещами (ht-301 H арт.12-3014, 12-3014; ht-301 N арт.12-3116; ht-301 W арт.12-3021, 12-3021-4) поверх защитного изолятора. Каждая клемма имеет отверстие, служащее фиксатором замкового типа для более прочного механического соединения с гнездовым разъемом. Цвет изолятора красный.
Основные характеристики:
Сечение применимых проводов в диапазоне: 0.5-1.5 мм²
Рабочая ширина штекера: B = 2.8 мм
Максимально допустимая величина пропускаемой силы тока: 10 А
Температурный диапазон: -10...+75 ℃
Применение изолированных плоских клемм дает возможность существенно ускорять электромонтажные работы, при этом появляется возможность многократного отсоединения и присоединения проводов.
